营商环境

政策法规

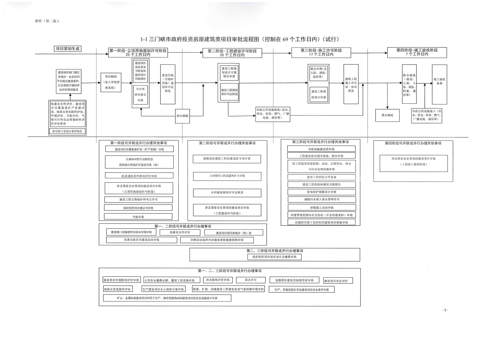
《三门峡市政府投资房屋建筑类项目审批流程图》(试行)等9类流程图的通知

信息来源:  发布日期:2020-03-27  阅读次数:

保护视力色: 文字:

《, . 《三门峡市政府投资房屋建筑类项目审批流程图》(试行)等9类流程图的通知

《, . 《三门峡市政府投资房屋建筑类项目审批流程图》(试行)等9类流程图的通知

《, . 《三门峡市政府投资房屋建筑类项目审批流程图》(试行)等9类流程图的通知

《, . 《三门峡市政府投资房屋建筑类项目审批流程图》(试行)等9类流程图的通知

《, . 《三门峡市政府投资房屋建筑类项目审批流程图》(试行)等9类流程图的通知

《, . 《三门峡市政府投资房屋建筑类项目审批流程图》(试行)等9类流程图的通知

《, . 《三门峡市政府投资房屋建筑类项目审批流程图》(试行)等9类流程图的通知

《, . 《三门峡市政府投资房屋建筑类项目审批流程图》(试行)等9类流程图的通知

《, . 《三门峡市政府投资房屋建筑类项目审批流程图》(试行)等9类流程图的通知

《, . 《三门峡市政府投资房屋建筑类项目审批流程图》(试行)等9类流程图的通知

《, . 《三门峡市政府投资房屋建筑类项目审批流程图》(试行)等9类流程图的通知

《, . 《三门峡市政府投资房屋建筑类项目审批流程图》(试行)等9类流程图的通知

三门峡供水集团 版权所有
Copyright © 2017-2025 smxzls.com 豫公网安备41120202000130号 豫ICP备17008181号